12 Volt BC1000 voeding met moderne middelen

Kees Stravers PB0AIA


Het is mijn wens om met de BC1000 (SCR300) portabel te kunnen werken. Nu moet dat portabel wel ruim worden genomen, gezien dat het toestel toch een flinke rugzak groot is en maximaal 17 kilo kan wegen, maar portabel is mogelijk.

Foto 1 SCR300 Battle of the Bulge

Probleem is natuurlijk dat de daarvoor nodige batterij BA-70 al lang niet meer verkrijgbaar is. Ik ben in de weer geweest met de oplossing van PA0HBB (SRS Bulletin 46) maar het feit dat daarvoor drie accus nodig waren vond ik toch lastig. Toen kreeg ik van Andre PB0AJN de tip dat er bij Ali tegenwoordig hele leuke dc-dc convertertjes te verkrijgen waren. Het is namelijk tegenwoordig de rage om met oude nixiebuizen retro klokken te maken en die buizen hebben hoogspanning nodig.


Foto 2 nixie_clock_nixieshop-com.jpg


Speciaal voor nixie klokken is een step up dc-dc converter ontwikkeld waar 12 volt in gaat en 90 tot 250 volt uit te halen is. Step down hebben ze ook, dc-dc conversie met een lagere uitgangsspanning dan de ingangsspanning. En beide mooi gestabiliseerd.


Voor de BC1000 is nodig 4,5 volt voor de gloeidraden, 90 volt voor de algemene hoogspanning en voor de zendbuizen nog 150 volt er bij.


Na wat zoeken bij Ali werd dit:

1x LM2596 DC-DC Buck Converter Step Down Module voor de gloeidraden 4,5 volt

2x Nixie Tube Booster Module DC 12-24V to 90-250V voor de 90 volt en 150 volt


Ik doe een foto van de printjes er bij, dan kan je ze makkelijker herkennen in het oerwoud van Ali.



Foto 3 de Ali dc-dc printjes


De converters kwamen na een dag of tien al aan. Ze kwamen uit een pakhuis in Europa. Toen kwam het grote feest; het instellen van de converters. Hier had ik twee problemen.


1. De uitgangsspanning van de converters moet worden gemeten met een analoge voltmeter. Met name bij de buck converter gaf mijn digitale meter allerlei random spanningen aan terwijl de analoge rustig bleef staan. Het bleek dat de sample frequentie van mijn digitale meter te dicht bij de frequentie van de schakelende voeding van het printje zat.


2. Beide printjes hebben een instelpotentiometer en ze komen ingesteld op de maximale uitgangsspanning. Om de gewenste spanning af te stellen moet je ze terwijl je ze op de 12 volt hebt aangesloten eerst helemaal naar minimum draaien en dan langzaam omhoog naar wat je wilt hebben. Draai je de potentiometer eerst helemaal dicht en zet je dan pas de ingangsspanning er op dan werkt het niet. Geen idee waarom, maar dit was mijn ervaring. Experimenteer er even mee.


Het gele draadje van de step up converter is niet nodig in deze toepassing. Het is bedoeld om de converter uit te zetten. Als je er 12 volt op zet gaat de converter uit. Je kan het draadje het beste aan massa koppelen. Bij sommige Ali DC-DC converters is het zelfs vereist om de gele draad aan massa te koppelen om de converter te starten.


Om de converters aan te kunnen sluiten ben ik begonnen met het los solderen van de batterijkabel van de BC1000 zodat de connector op de bodem van de kast over blijft. Dan kan je daar makklijk de voedingsdraden aan solderen. Daarnaast heb ik een plankje op de bodem van de BC1000 geschroefd. Als je de riempjes weg haalt waarmee je de BA-70 batterij moet vastzetten dan blijven er kleine gaatjes in de bodem van de kast over en die kan je gebruiken om van binnen uit houtschroefjes te draaien in het plankje voor de printjes.


Foto 4 printjes op de BC1000


Het aansluiten van de voedings spanningen gaat als volgt.


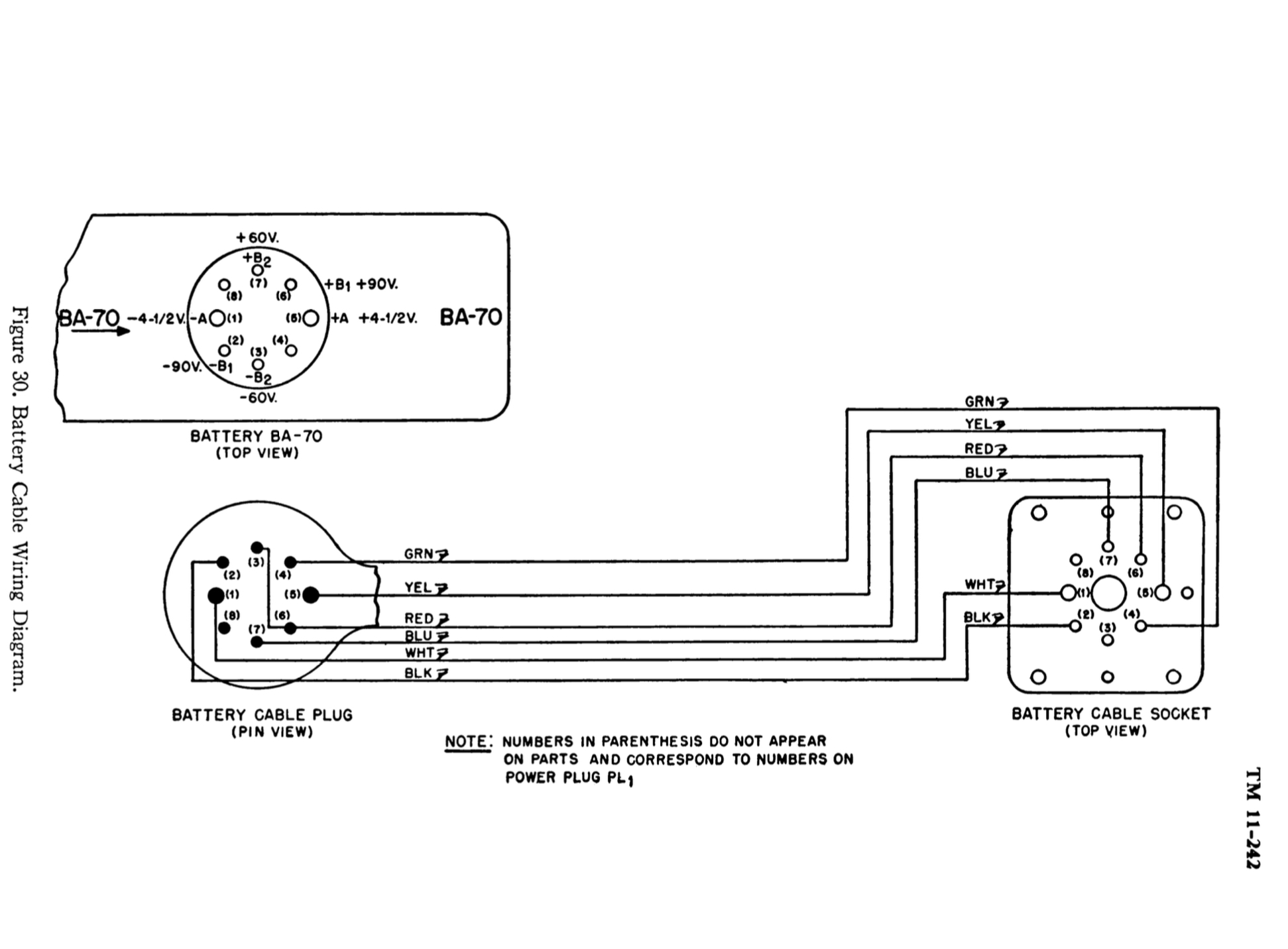
Pinout voeding connector BC1000

7 – 150 volt in

6 – 90 volt in

5 – 4,5 volt in

4 – 4,5 volt uit (achter de aan/uit schakelaar)

1 – Ground



foto 5 power connector in schema BC1000


foto 6 batterijkabel schema


Pen 1 is ground en pin 5, 6, en 7 zijn de spanning ingangen. Pen 3 en pen 8 zijn not connected.


Als je op de aansluitgegevens van de batterij kijkt dan lijkt het of er alleen 60 volt op pen 7 staat. Maar in de batterij zijn de + en de – van het 60 volt gedeelte los van de rest en in de kabel wordt de 60 volt in serie met de 90 volt gezet door een intern draadje van pen 3 (-60) naar pen 6 (+90) en zo komt er toch 150 volt op pen 7. In het schema van de set zie je dit draadje ook zitten tussen 3 en 6. Dit is gedaan om de batterij recht op de set te kunnen prikken wanneer de set niet in de kast zit. Dan staat de set toch correct onder spanning om hem te kunnen afregelen.


Pin 4 is een spanning uitgang. Deze is voor het inschakelen van de triller in de PP-114 voertuig voeding bedoeld. De accuspanning gaat in deze voeding via een dikke serieweerstand naar pen 5 de BC1000 in, en als je dan de volumeknop naar aan draait komt er 4,5 volt op pin 4 weer uit richting de voeding. Dit trekt een relais aan in de PP-114 en daardoor gaat de triller lopen en komt de hoogspanning.


Ik heb er over gedacht om dit mechanisme te gebruiken om de hoogspannings printjes mee aan te zetten middels een klein relais, maat de opgenomen ruststroom van de converters is zo laag dat dit volgens mij weinig nut had. De ruststroom van alle drie de converters samen bij uitgeschakelde set is 40 mA. Dat houdt een accu wel een weekend vol.


Toen kwam de grote test. Let op: de BC1000 gaat alleen aan wanneer er een handset of luidspreker is aangesloten op de audio out jack die naast de micrrofoon ingang zit! In die connector zit een schakelaar die de 4,5 volt gloeidraadspanning onderbreekt wanneer er geen plug in gestoken zit.


Eerst sloot ik de step down converter aan op de gloeidraden en de 12 volt ging er op. Er ging 250 mA de set in. Dat is ruim binnen de 2A die deze converter kan leveren. De spanning bleef mooi stabiel op 4,5 volt.


Daarna de 90 volt converter er bij. Hier ging 33 mA de set in lopen. En ziedaar: ruis uit de luidspreker! Eens kijken of hij ontvangt. Ik had de BC1000 op kanaal 25 gezet, dat is 45 MHz. Met de wonderbaarlijke TinySA miniatuur spectrum analyzer en meetzender een carrier van 45MHz gegenereerd met een FM piep er op en ziedaar: ontvangst! De BC1000 deed het met deze twee converters.



Foto 7 TinySA met BC1000


Daarna de 150 volt converter er bij. Ik had geen handset op dat moment, maar de seinsleutel van de TCS heeft dezelfde plug met de ptt op dezelfde plaats dus die maar gebruikt. Niet vergeten een dummy antenne aan te sluiten, bijvoorbeeld de A-28.



Foto 8 A-28 dummy antenna


En helaas: een hoop raar gekraak uit de luidspreker en de set ging niet op zenden. De converter had een probleem.


Nu moest ik eerst bepalen of a. mijn BC1000 eigenlijk wel kon zenden en b. hoeveel stroom er nodig was. Een vriend had het voedingstoestel PP-3026 wat bedoeld is om onder andere de BC1000 te kunnen repareren. En voorwaar: daar zond de set goed mee. Dus dat werkte. Het bleek dat er 80 mA nodig was op de 150 volt. Dat kon de nixie voeding niet leveren want bij inschakelen van de zender dook de uitgangsspanning in elkaar. Ik moest op zoek naar een dc-dc converter met meer fut. Terug naar Ali.


Ik vond een “8-32v to 45-390v dc-dc boost converter step up power supply module high voltage ZVS capacitor charging board”. Daarnaast vond ik een “DC10-60V to 12-80V 600W MPTT Solar Boost Controller LTC1871 Boost Voltage Converter Step-Up” dus die ook maar besteld, dan is er zeker genoeg stroom.



Foto 9 ZVS converter en 600W converter


Toen ik de ZVS converter op 150 had afgeregeld en aansloot en de set aan zette, hoorde ik een irritante tik van iets van 10 Hz door het ontvangst audio heen. Kijkend met de scoop bleek er een zaagtand storing van 10 Hz 75 mV pp op de 150 volt te staan met een zeer steile piek. Toen ik vervolgens de zender aan zette kwam er prima signaal uit de set maar zat er een duidelijke jank in het uitgezonden audio. Het was net als de Philips CMT of Zephyr mobilofoon indertijd, die hadden ook zo’n piep door het audio. Dus die zaagtand ging in frequentie omhoog naarmate de converter belast werd. Dat schoot ook niet op. Met een relais de converter alleen bij zenden aanzetten was een probleem want er kwam elke keer een enorme vonk over de contacten. En die jank kon ik er niet uit krijgen.




Foto 10 ZVS converter zaagtand


Nou dan de 600W converter maar eens proberen. Die bleek tot iets meer dan 90 volt te regelen met 12 volt input. Die dan maar op de 150 volt ingang aangesloten, en de BC1000 ging nog zenden ook. Met perfect audio, geen piep of niks er doorheen! Dat leek er meer op!


Toen maar eens gemeten hoeveel stroom er liep: 30 mA. Zal toch niet waar zijn! Gauw de tweede nixie dc-dc converter terug geplaatst en die van 150 volt naar 90 volt terug gedraaid en de set weer op zenden gezet. En ja hoor, het werkte! Niet met zo veel vermogen als bij 150 volt natuurlijk, maar de set ging op zenden en het audio was prima. (Zonder handset had ik dit geprobeerd met de T17 microfoon van de TCS.)


Als ik nou meteen de niet werkende converter terug naar 90 volt had gedraaid was ik veel eerder klaar geweest. Achteraf gezien logisch dat een dc-dc converter minder stroom levert wanneer je de uitgangsspanning verhoogt. Maar goed, nu heb ik in ieder geval een converter liggen voor wanneer ik 90 volt bij een heleboel stroom nodig heb.


Opgenomen stroom uit 12 volt:

Set uit: 40 mA

Ontvangen: 380 mA

Zenden: 780 mA


Nu nog even met wat stukken piepschuim een flinke loodaccu klem onder in de batterijbak zetten en dan kan het feest beginnen. Misschien nog een baksteen er boven op voor de complete originele ervaring.


En daarna eens kijken naar de ombouw naar 6 meter. In The VMARS newsletter October 1999 (no 7) staat daar een interessant artikel over. En in SRS Bulletin nr.6 (november 1996) en nr.9 (jili 1997) staan twee artikelen van Fred PA0MER over het ombouwen van een WS31 naar 6 meter. (WS31 is de Britse kloon van de BC1000.)




Terug naar index